您现在所在的位置 :
首页 > 海丰县人民政府办公室公开目录 > 政务公开 > 规划计划
海府办〔2025〕2号
各有关镇人民政府,县各有关单位:
经县政府同意,现将《海丰县珠宝首饰行业产业发展规划(2025-2030年)》印发给你们,请认真组织实施。实施过程中遇到的问题,请径向海丰县科技工业和信息化局联系。
海丰县人民政府办公室
2025年7月15日
海丰县珠宝首饰行业产业发展规划
(2025-2030年)
二〇二五年七月
目 录
前言
第一章 发展基础
第一节 发展现状
一、《汕尾海丰首饰行业整治规划(2018-2022)》实施情况评估
二、珠宝首饰产业发展现状
三、产业环境治理现状
第二节 发展不足
第三节 发展机遇
第二章 总体要求
一、指导思想
二、基本原则
三、发展目标
第三章 发展重点及整体布局
第四章 重点任务
第一节 实现新一轮产业规划,统筹优化产业发展布局
第二节 加快海丰首饰产业环保集聚区等产业平台建设
第三节 持续完善珠宝首饰产业链条
第四节 健全企业梯度成长机制
第五节 推动特色强镇建设
第六节 加快推进产业数字化转型,构建智能首饰产业生态
第七节 扎实推进“三品”强基工程
第八节 加快推进珠宝首饰行业提质升级
第九节 持续改善环境质量,压实企业环保主体责任
第十节 深化营商环境改革
第五章 保障措施
第一节 加强行业组织领导
第二节 强化行业安全环保
第三节 加强政策扶持与资金保障
第四节 推动技术创新与人才培育
第五节 健全评估监督机制
附表1 海丰县珠宝首饰行业重点项目清单
附图1 海丰县行政区划图
附图2 海丰县现有主要珠宝首饰加工企业分布示意图
附图3 海丰县珠宝首饰产业整体布局示意图
附图4 海丰县首饰行业重点项目分布图
附图5 海丰县主要地表水环境功能区划图
附图6 典型珠宝首饰加工生产工序现场踏勘照片
附件一 专家评审意见
前 言
珠宝及首饰产业作为海丰县的传统支柱产业和重要的民生产业,其高质量发展对于优化地方经济结构、稳定外贸出口、增加就业岗位、扩大就业规模以及加快推进新型城镇化进程具有深远的意义。
未来几年是海丰县加快推动革命老区跨越发展、振兴发展,建设沿海经济带靓丽明珠和革命老区高质量发展示范区的关键时期。为贯彻落实新发展理念,加快推动全县首饰产业转型发展、创新发展、突破发展,推动传统产业向园区集聚,实现“统一治污、集中管理”,实现首饰产业链高质量发展,依据《广东省制造业高质量发展“十四五”规划》《汕尾市制造业高质量发展“十四五”规划》《关于推进汕尾市珠宝金银首饰产业转型发展行动计划(2024-2026年)》《海丰县国民经济和社会发展第十四个五年规划和二〇三五年远景目标纲要》《海丰县国土空间总体规划(2021-2035)》等相关规划与文件,制定本规划。
本次规划范围为海丰县范围内的珠宝首饰行业,主要指国民经济行业分类(2017版)中C2438的珠宝首饰及有关物品制造的金银首饰及珠宝制造业。本规划是指导本县珠宝首饰产业高质量发展的规划,是明确行业发展重点和发展布局的重要依据。本次规划基准年为2025年,规划期至2030年。
第一章 发展基础
第一节 发展现状
海丰县珠宝首饰产业,从80年代初的家庭作坊起步,通过多年发展,目前已形成以可塘珠宝、梅陇首饰为代表的两个特色鲜明的专业镇。珠宝首饰产业是海丰县的传统优势支柱产业之一,经过近四十年的发展,目前已形成了产、供、销、研一条龙的产业集散地,梅陇镇成为闻名全国的“中国首饰之都”,可塘镇成为闻名国内外的“中国彩色宝石之都”。
一、《汕尾海丰首饰行业整治规划(2018-2022)》实施情况评估
(一)原规划基本情况
改革开放以来,金银珠宝首饰加工行业逐渐成为海丰县传统支柱产业和重要民生产业,在推动地方经济发展、创造就业岗位、提高人民收入等方面发挥了重要作用。但随着城市和经济转型加快,“村村点火、户户冒烟”的发展模式已越来越不适应现代化发展的要求,部分工业集聚区内生产、生活设施混杂,散、乱、污问题突出,部分企业环保手续不齐全、环保设施不完善,环境风险隐患较大,首饰加工行业提升整治工作刻不容缓。2018年,为推动海丰县首饰加工及电镀企业综合整治,促进首饰加工行业健康、可持续发展,海丰县编制了《汕尾海丰首饰行业整治规划(2018-2022)》(以下简称“原规划”),规划期限为2018年至2022年,其明确建设海丰首饰产业环保集聚区,并作为海丰县首饰行业整治的关键依托措施。该规划主要针对国民经济行业分类中C2438的珠宝首饰及有关物品制造中的金银首饰加工制造业。
2018年,海丰县科技工业和信息化局依托原规划组织编制了《海丰县依托海丰县产业转移工业园带动产业集聚发展(海丰首饰产业环保集聚区)规划环境影响报告书》(以下简称“报告书”),于2019年10月取得广东省生态环境厅关于印发《海丰县依托海丰县产业转移工业园带动产业集聚发展(海丰首饰产业环保集聚区)规划环境影响报告书审查意见》的函(粤环审〔2019〕480号)。集聚区建成后,预计加工区金银首饰加工生产规模为4201吨/年,小五金加工规模14000万件/年。配套电镀区规模为首饰电镀表面积856万平方米/年。
此外,审查意见结合“原规划”“报告书”要求提出:“严格落实《汕尾海丰首饰行业整治规划(2018—2022)》《汕尾海丰首饰行业整治实施方案(2018—2022)》《海丰县电镀行业整治方案(2018—2022)》,有序做好海丰县现有首饰加工企业的整治、入园工作,集聚区外不得保留、新建、改扩建首饰加工及配套小五金加工、电镀项目。”
根据“报告书”,海丰首饰产业环保集聚区用地总面积约为0.8177km²,规划建设年限为2018年至2025年,总建筑面积约190万平方米,是集研发、设计、生产制造、展示交易、观光旅游为一体的金银珠宝首饰及产品电镀集聚基地,主要包括六大功能区域:加工厂房区、综合服务区、电镀生产区、废水处理区、配套服务区、物流仓储区。其中加工厂房区总占地面积21.13公顷,总建筑面积670958平方米。电镀厂房区总占地面积20.82公顷,总建筑面积342458平方米。
(二)原规划实施情况
1、原规划中企业搬迁计划落实情况
根据《汕尾海丰首饰行业整治规划(2018-2022)》,其提出对10家环评手续齐全且环保设施通过验收的首饰加工企业及1家环评手续齐全且环保设施通过验收的电镀企业,近期原地保留,远期鼓励搬迁入园集聚管理。要求662家环评手续不齐全、环保设施未通过验收的企业强制搬迁入园集聚管理,全面提升全县首饰加工行业清洁生产水平。
目前,10家环评手续齐全且环保设施通过验收的首饰加工企业及1家环评手续齐全且环保设施通过验收的电镀企业(合泰电镀厂)原地保留;662家环评手续不齐全、环保设施未通过验收的企业中,181家企业已注销或吊销,剩余481家企业中,大多已搬至梅陇镇三个保留工业片区内,仅海丰县梅陇盛利首饰厂、联兴首饰厂、海丰县梅陇金缘首饰厂3家企业搬迁入园。
企业未搬迁入园主要原因包括:①集聚区尚未完全建成,园区部分基础设施尚未完善,企业搬迁入园无法马上投入生产;②“原规划”提出的经济鼓励搬迁措施尚未落实;③近年来,由于受新冠疫情及国内外经济形势变化的冲击,企业经营艰难,企业搬迁入园成本较高,需要投入大量资金,包括厂房建设费、设备搬迁费等,同时用工选择变少,用工成本变高。对于一些资金实力较弱或利润较低的企业来说,搬迁成本过高,因此选择原地保留;④目前梅陇镇首饰加工企业主要从业人员为农村家庭妇女,其日常出行交通工具主要为摩托车,其利用照顾家人之外的零散工作时间投入首饰加工工作,既为首饰产业发展贡献了巨大的力量,也在首饰产业发展的红利中进一步迈向共同富裕。但目前梅陇镇通往首饰集聚区的道路仅有一条324国道,该道路车流量较大,通过摩托车由梅陇镇前往首饰集聚区花费时间长且存在一定安全隐患,这也在一定程度上打击了梅陇镇的首饰企业搬迁入集聚区的意愿。
2、金银首饰加工产业整体发展现状
近年来,面对全球新冠疫情的挑战与国际地缘政治环境的复杂多变,海丰县首饰产业展现出非凡的韧性,成功把握“互联网+”时代的新机遇,实现了业态创新与转型升级,市场需求与产业格局均发生了显著的变化。去年以来,在省委“1310”具体部署的引领下,海丰县聚焦传统首饰产业转型升级,坚持实体经济为本、制造业当家,全力推进“百县千镇万村高质量发展工程”。
经统计,2024年海丰县约有4682家首饰加工企业,其中规上纳统的首饰行业企业共有8家,吸引就业人数达6万多人,为全县经济发展及社会稳定作出巨大贡献。2024年首饰加工企业总产值约372亿元,总加工量为5573t/a,其中金的加工量约29吨,加工产值约44亿元;银的加工量约1891吨,加工产值约228亿元;铜和其他金属加工量约3653吨,加工产值约100亿元。
县内首饰加工企业主要集聚于梅陇镇,市场主体以小规模企业或个体工商户为主,大多坐落于三个过渡阶段的保留工业片区,包括东怡工业片区、泰利工业片区、梅北工业片区。除梅陇镇外,少量首饰加工企业在城东镇、附城镇与海城镇的工业园区内呈现出集聚发展趋势,城东镇首饰加工企业大多在金园工业区、汕尾海丰产业园区、宫地山工业区内集聚发展,这些工业园区位置相邻,为企业提供了良好的生产环境和配套设施。附城镇的首饰加工企业主要位于鲤鱼山工业区,海城镇的首饰加工企业则主要落户于龙津工业区。这些工业区内汇聚了不少首饰加工企业,共同推动着当地经济的发展。首饰加工企业及其分布图如下表和附图2。
表1 海丰县现有主要首饰加工企业分布情况汇总表
3、海丰首饰产业环保集聚区承载力评估
经统计,截至2025年5月,集聚区已建成厂房20栋及相应配套设施,建筑面积约174889.75平方米;日处理5600吨的废水处理厂已投入运营;集聚区废水收集管网已完成。整个园区现已有241个项目相继投产(加工区206个,电镀区35个)。目前,加工厂房区已使用64950.64平方米,电镀厂房区已使用22382.3平方米,加工厂房剩余606007平方米可使用。
由前文可知,2024年全县金银首饰加工规模可达5573吨首饰件/年,超过原规划提出的4201吨首饰件/年。另外,通过类比典型首饰加工企业估算单位面积产品产出强度进行推算,预计承载全县5573吨首饰加工规模需要619710平方米建筑面积,因此即使不考虑首饰产业后续发展规模进一步扩大的需求,首饰集聚区加工厂房剩余用地亦无法完全满足海丰县全县首饰加工企业的使用需求。
总体而言,经过多年的发展,海丰县首饰产业规模不断壮大,但因集聚区建设进度相对滞后、政策扶持力度不足以及企业自身经营压力等多方面因素,首饰加工企业入园集中发展的效果不理想。此外,当前海丰首饰产业环保集聚区加工厂房剩余用地,已难以满足全县首饰产业企业的实际使用需求。
二、珠宝首饰产业发展现状
(一)产业规模持续壮大
金银首饰、珠宝加工作为海丰县三大传统经济支柱产业和重要民生产业之一,20世纪80年代开始,经过几代能工巧匠的深耕细作,逐渐发展壮大。目前海丰县形成了研发、设计、加工、生产、销售及机械、器材、辅料和相关服务配套的成熟产业链,梅陇镇及可塘镇分别赢得了“中国首饰之都”“中国彩色宝石之都”的美誉。随着产业的发展,规模的扩大,海丰政府开始通过产业政策等措施有意识地引导专业化的发展,如在招商引资上明确产业类型、建立专业市场和专业产业工业园等,形成梅陇金银首饰、可塘珠宝两个地方性的专业镇。2024年,全县登记注册的珠宝首饰加工企业商户共有7065家(个体户6144家,企业921家),其中规模以上企业8家,年加工5吨彩色宝石,5573吨金银首饰件,产值近422亿元。
梅陇镇首饰行业始于20世纪80年代,已发展成为传统的特色产业。2016年梅陇镇积极发展特色产业,落实“暖企”行动,引导扶持企业加大转型升级,使全镇首饰产业规模越来越大,档次越来越高,效益越来越好。特别是各大首饰龙头企业均得到长足发展,汕尾市展鹏珠宝首饰有限公司不断发展壮大,成为国际知名首饰品牌“金六福”指定合作伙伴,月黄金加工量超1吨。
20世纪80年代中期,可塘镇开始承接境外珠宝产业转移落户,经过30年的发展壮大,现有广东可塘珠宝交易市场、可塘荔塆珠宝两大珠宝专业市场,共有商铺档位约4500个,为可塘珠宝拓宽销售渠道,更好地满足加工企业和消费者的需求。短短十多年的时间,可塘珠宝产业实现了从家庭作坊式到园区工厂集约化、从单一来料加工式到产供销“一条龙”的“华丽转变”,其产品畅销世界各地,尤其是水晶首饰产品,占世界加工总量的70%以上。2024年全镇珠宝加工和销售企业商户共有10466家,其中企业759家,个体工商户9707家,产值近50亿元。可塘镇现已形成以两大珠宝专业市场为龙头企业,集珠宝原材料销售、生产工具及配件经营、设计研发及生产加工、半成品及成品销售、电子商务、检验检测和配套服务为一体的完整产业链。可塘镇珠宝首饰加工企业目前主要布局在长桥工业园及周边区域。
(二)产业平台建设加快推进
近年来,海丰县深入贯彻落实习近平生态文明思想,以坚决打好污染防治攻坚战为目标,全力推动海丰县珠宝首饰产业集约化发展,优化珠宝首饰产业区域布局,铁腕重拳整治“散乱污”。目前,海丰县正加速推进海丰首饰产业环保集聚区、海丰县可塘珠宝产业环保集聚区、海丰县雅天妮综合环保工业园、海丰金晟宝石首饰园区、可塘易丰宝石环保工业区、东维亚珠宝科技产业园(三期)、白沙村珠宝产业园等多个工业园区的建设。通过科学规划园区的产业定位和功能区域,合理布局主导产业、关联产业及其上下游产业链,海丰县旨在形成强大的产业集聚效应和产业链综合吸引力,实现资源共享,从而有效节约能源资源,保护自然生态环境。
1、已投产园区
海丰首饰产业环保集聚区:截至2025年5月,海丰首饰产业环保集聚区已建成标准厂房20栋约174889.75平方米及相关配套,能容纳443家企业入园生产,已有422家企业认购厂房;现正式入园生产144间(电镀区19家、加工区82家、倒模区43间),还有97家企业(电镀区16家、加工区51家、倒模区30间)正在抓紧装修中,预计2025年10月份可装修完成并实现投产。
2、在建园区
海丰金晟宝石首饰园区:已竣工验收,并已签约出租出售10余栋厂房,企业入驻工作有序开展。
海丰县雅天妮综合环保工业园:已完成2栋主体厂房建设并已投产使用,还有2栋主体厂房正在抓紧建设当中,预计2025年底全面竣工并正式投产使用。
海丰县可塘珠宝产业环保集聚区近期已正式动工,东维亚珠宝科技产业园(三期)、可塘易丰宝石环保工业区2个产业园正在办理前期相关建设手续。
3、谋划阶段园区
白沙村珠宝产业园:目前仍处于项目谋划阶段,后续将根据区域产业规划和发展需求,科学推进园区建设筹备工作。
通过分层次、分阶段推进园区建设,海丰县正逐步构建起布局合理、产业集聚、生态友好的珠宝首饰产业体系,为地方经济高质量发展注入新动能。
(三)电商赋能珠宝首饰经济发展
近年来,海丰县探索打造电商直播的“流量经济”发展模式,积极开拓电子商务新业态,依托产业基地+直播带货,利用抖音、淘宝、拼多多等平台,促进可塘珠宝、梅陇金银首饰产业发展。同时,海丰县积极推动优秀企业与网红、明星、大V等直播合作,扩大产品影响力,提高产品附加值。积极引导商户拓展海外市场,借助TikTok(抖音)、shopee(虾皮)、Aliexpress速卖通(阿里巴巴)、eBay、亚马逊等跨境电商平台,开拓东盟、欧盟等海外消费市场,扩展珠宝产业发展空间。海丰县通过完善商家、商品管理机制,建立电商直播业务的安全壁垒,打造优质口碑,引导可塘珠宝、梅陇金银首饰等行业企业走品牌化、精细化、高质量发展之路。
目前,可塘镇已建成广东可塘珠宝交易市场、可塘荔塆珠宝两大珠宝专业市场,驻有可塘抖音直播基地、淘宝可塘青年创业园基地等直播平台,现从事抖音、淘宝、小红书等电商直播共有2500家4500多号,电商直播从业人员15000多人,其中进驻可塘抖音直播基地约2000户,日均销售额500万元以上,日均交易量2万单以上,在全国43家同类基地中,QIC体量排名前五。
(四)产业发展政策不断完善
为鼓励更多企业入园生产,海丰县人民政府出台《海丰首饰产业环保集聚区若干优惠政策实施办法》,给予厂房购置办理手续、企业技术创新及技术改造、产业转移升级申报补助和专项资金扶持,客商服务保护、厂房贷款贴息、税收奖励等一系列优惠政策。集聚区加大优惠力度,为首批入园企业生产经营提供一系列减免优惠、支持,并为企业在生产经营中提供环保安全等配套服务和设施保障。此外,为加快构建产业标准体系,推动海丰县产业集群镇高质量发展,2023年3月,海丰县政府、汕尾市市场监管局、海丰县市场监管局指导,汕尾市金银珠宝首饰行业协会制定并发布《梅陇首饰银S930技术要求》《梅陇首饰精工镶嵌制造技术规范》《梅陇首饰机织链技术规范》。这三个团体标准的成功发布填补了国内首饰机织链标准的空白,对推动海丰县金银首饰产业高质量发展、标准化建设具有里程碑的意义。
三、产业环境治理现状
(一)珠宝首饰加工企业产污特征
珠宝首饰产业涵盖了矿石开采、加工冶炼、毛坯制备、珠宝设计与加工,直至最终销售与资源回收的各个环节。其上游聚焦于原材料供应,包括珍珠养殖、矿石开采、提纯冶炼、毛坯加工等环节。中游为珠宝首饰的精细加工,是珠宝首饰产业链中最关键的一环,制作工艺包括设计、唧蜡、镶石、车花、镀前表面处理、电镀等。产业链的下游则延展至消费市场与贵金属的循环再利用,企业利用多元化的销售渠道,如实体店铺、电子商务平台和社交媒体等,广泛拓展市场。此外,在首饰加工生产过程中,难免会产生一定量的损耗,这些损耗的贵重金属大部分混杂于生产过程中产生的边角料、碎屑及打磨抛光粉尘等固体废物中。由于大多数黄金珠宝首饰原材料进口依赖程度较高,企业回收珠宝首饰加工环节的废弃物,通过提炼技术,有效减少贵金属的损耗,实现资源的循环再利用。根据制造首饰的材料,首饰可分为贵金属首饰和珠宝首饰两大类。前者主要指由金(纯金、K金)、铂金、银、铜等制成的首饰。后者是由钻石、红蓝宝石、祖母绿等天然宝石和各种人造宝石琢磨而成。珠宝首饰加工产业基本可归纳为珠宝首饰、贵金属首饰、贵金属回收利用三大类。
海丰县现有珠宝首饰加工产业主要集聚于可塘镇,主营碧玺、发晶、南红等120多种进口原石料加工的产品,珠宝远销欧美、东南亚、韩国等地区。由于可塘镇宝石工厂(场)大多为家庭式小微企业,分散分布,大部分个体户和企业生产工艺较为简单,仅对原石料进行切割、打孔、抛光。宝石加工中的泡酸和注胶工序则主要委托海丰县金盛宝石首饰有限公司、东维亚珠宝科技产业园、海丰县雅天妮综合环保工业园等集中处理。贵金属首饰主要分布于梅陇镇,主要加工黄金、银、铜和合金四类首饰件,基本上所采用的加工生产工艺相类似,均为首饰加工行业常用的主流工艺,主要涉及设计—起版—压膜—唧蜡—执模—配石—镶石—执边—车花—镀前表面处理—电镀。目前海丰县彩宝废料主要交由本地或珠三角地区的建材厂,作为骨料生产。海丰县暂无首饰贵金属回收与提纯的企业,针对废旧首饰及贵金属的回收、提纯这一重要环节存在明显的产业链缺失。本次对珠宝首饰加工部分典型工艺及其产污环节进行介绍。
1、珠宝首饰加工
珠宝首饰加工企业生产工艺较为简单,主要以外购石料为原料,对其进行泡酸、注胶、切粒、打孔、抛光等。
(1)珠宝首饰加工全流程
(2)泡酸工序

(3)注胶工序

在以上的加工过程中,进厂的宝石原料,因混有泥土等杂质,需通过加热清洗,洗净宝石表面,该过程会产生清洗废水。配酸工序中使用的酸液有盐酸、氢氟酸、硫酸、草酸和硝酸,配酸过程中盖子为开启状态,酸挥发产生酸雾。泡酸及泡酸后的清洗过程会产生酸性废水,特征污染物为ph、氟化物等。注胶工序会产生少量的挥发性有机废气(以VOCs计)、燃料废气。
2、贵金属首饰
加工工艺流程基本上可归纳为如下六大类,但总体上主要工艺类似,以定型、执模、焊接、泡酸、清洗、电镀、包装为主。
(1)黄金首饰加工(不注腊的)
在以上的加工过程中,金料的溶解会产生极少量的烟尘,焊接过程也会产生极少量的烟尘,使用硫酸或者盐酸进行浸酸的过程会产生酸性废水,浸酸后的清洗过程会产生清洗废水。
(2)银、铜、合金首饰加工(不注腊的)

在以上的加工过程中,银、铜、合金原料的熔解会产生极少量的烟尘,焊接过程也会产生极少量的烟尘,首饰件打磨过程会产生金属粉尘,湿式抛光过程会产生抛光废水,清洗过程会产生清洗废水。浸酸过程会产生酸性废水。
(3)黄金首饰加工(注腊)
在以上的加工过程中,种蜡树时电热笔点碰蜡树会有微量的非甲烷总烃产生,以无组织形式排放。调配石膏浆的过程会产生投料粉尘,融蜡工序会产生有机废气,黄金原料的溶解(熔金工序)会产生极少量的烟尘,去石膏工序会产生废石膏和清洗废水,使用硫酸或者盐酸进行浸酸的过程会产生酸性废水,浸酸后的冲洗过程会产生冲洗废水。
(4)银、铜、合金首饰加工(注腊)
在以上的加工过程中,种蜡树时电热笔点碰蜡树会有微量的非甲烷总烃产生,以无组织形式排放。整砂、研磨过程会产生金属粉尘,湿式抛光过程会产生抛光废水,浸酸过程会产生酸性废水,清洗过程会产生清洗废水。
(5)集中倒模加工

在以上的加工过程中,调配石膏浆的过程会产生投料粉尘,熔蜡工序会产生有机废气,金属原料的熔解(熔料工序)会产生极少量的烟尘,去石膏工序会产生废石膏和清洗废水,浸酸工序会产生酸性废水,清洗工序会产生废水。
(6)电镀:
电镀是在工件表面上镀一层性能更加稳定、更加亮丽的金膜,使首饰品耐磨持久、抗腐蚀性好、长期保持色泽。海丰县的首饰加工企业均不自行配套电镀工序,部分首饰加工企业需要电镀的均委外进行加工,目前已有海丰县梅陇镇合泰电镀厂有限公司为海丰县首饰加工行业提供配套电镀需求,海丰首饰产业环保集聚区也相继入驻配套电镀企业。进厂待电镀的首饰坯件,部分表面比较粗糙的需要先进行简单的打磨抛光后再进行电镀。会产生少量的贵金属粉尘。电镀工序分为镀前表面处理、电镀(镀覆处理)、后处理三部分。镀前表面处理包括泡酸、超声波清洗、除油、活化(中和),均产生清洗废水。酸洗过程中产生酸性废水,超声波脱脂、除油等工序产生酸碱废气。
电镀(镀覆处理)包括镀铜、镀镍、镀金、镀银、镀铑、镀钯及镀铜基合金、金基合金、镍基合金等镀种类型。镀覆工段产生综合废水(重金属废水)、前处理废水、络合废水、含氰废水、含铬废水、含镍废水、混排废水等。镀碱铜、镀银、镀金、镀铜基合金、镀金基合金过程中会产生少量含氰废气(主要含量为氰化氢),镀焦铜、镀钯过程中会产生极少量氨气,镀镍、镀酸铜、镀铑、镀镍基合金过程中会产生少量酸雾。
电镀后处理措施包括钝化处理、防变色处理、烘干等。镀银镀层、镀金镀层、镀金基合金镀层及镀镍锡合金镀层必须经过后续的钝化或防变色处理,否则镀层极易变色。镀件钝化或防变色处理共有3种方式:电解保护(铬)、电泳漆保护、纳米保护。电解保护(铬)电镀过程中会产生少量铬酸雾,镀后会产生含铬废水。电泳涂装过程中会产生少量的有机废气,电泳涂装、纳米保护液浸泡后清洗会产生清洗废水。电镀后的工件,经过水洗将工件上带出的镀液清洗干净,然后进入离心脱水机甩掉表面的水分。最后进入烤炉,利用高温将工件上残留的水分进一步烘干。烤炉以电作为能源,因此烘干工序无废气、废水污染物产生。
在电镀工件的同时,挂具上也会镀上一层金属镀层,因此需要退挂以便挂具能够重新利用,该工艺基本不产生废气。退镀后续清洗过程产生废水。
3、金属回收利用
首饰加工过程会产生金属加工废料,包括打磨粉尘、抛光粉尘、车间清洗的地沙等,由于其中含有金、银等贵金属,具有较高回收价值。含贵金属的废料通过焚烧、高温除杂、浸出、还原、提纯、铸锭等方法进行有价金属的提纯和回收,利用提纯回收的贵金属再进行珠宝首饰加工。目前海丰县暂无首饰贵金属回收与提纯的企业,部分首饰加工企业贵金属委外进行回收提纯,末端回收利用产业链不完善。

在此加工过程中,破碎、熔金、高温除杂、球磨过程中会产生粉尘,高温熔化过程中会产生烟尘、重金属、二噁英等。王水溶解工序会产生酸性气体跟燃烧废气,主要污染物是氮氧化物、氯气、氯化氢等。还原、过滤、烤干会产生酸性废气,主要污染物是氯化氢、氮氧化物、二氧化硫。过滤、清洗过程中会产生废水,其中过滤工序会产生酸性废水。污染物含有重金属。
4、彩宝废料回收利用
宝石切割原石时产生的碎片或不规则废料,污水处理厂污泥可回收利用制砖,制砖工艺主要分为免烧砖(非烧结砖)和烧结砖两大类。免烧砖主要通过高压压制(如液压机)使砖坯密实,无需高温烧制,生产过程简单,能耗低。烧结砖需将原料破碎、混合、成型后,放入窑炉中高温烧制(1000℃-1200℃),能耗高,工艺较复杂。目前海丰县彩宝废料主要交由本地或珠三角地区的建材厂,作为骨料生产。
(1)免烧砖(非烧结砖)

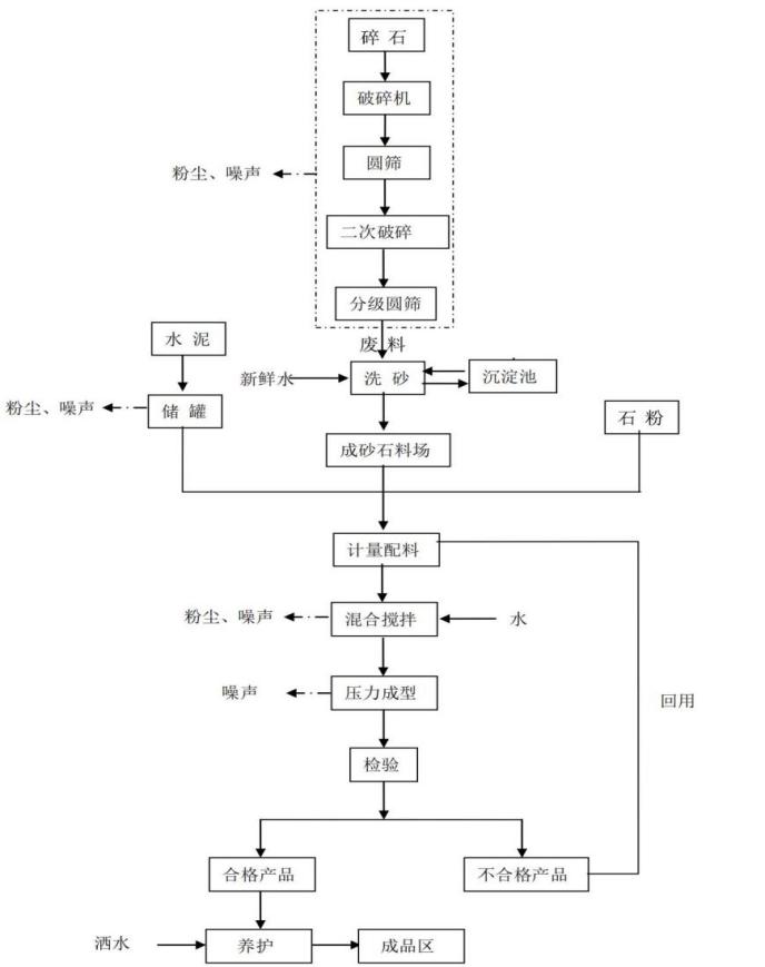
废料通过破碎机进行初步破碎,破碎后的物料经过圆筛分级,较大颗粒返回二次破碎,筛分后的物料加入新鲜水进行洗砂,去除杂质;洗净的砂石料进入料场,经计量配料后与水和添加剂混合搅拌,再通过压力成型。在此加工过程中,卸料、投料、破碎等工序会产生一定量的粉尘。
(2)烧结砖

在该加工过程中,破碎、筛选及搅拌过程中会产生一定的粉尘,焙烧工序会产生二氧化硫、氮氧化物、烟尘、氟化物、二噁英等。
(二)产业发展区周边环境质量现状
1、地表水环境质量现状
(1)梅陇镇地表水环境质量现状
梅陇镇内主要河流为大液河、安步溪(虎头沟)。梅陇镇污水处理厂尾水排入安步溪(虎头沟)。
根据本次收集的大液河联安桥断面2023年1月、4月、7月、10月的地表水常规监测数据,2023年大液河水质满足《地表水环境质量标准》(GB3838-2002)Ⅲ类水质标准限值。根据广东金丰环保科技有限公司(海丰首饰产业环保集聚区废水处理厂)在大液河的地表水水质监测报告(监测时间为2025年1月6日—2025年1月7日,监测单位为广东惠利通环境科技有限公司),2025年大液河水质满足《地表水环境质量标准》(GB3838-2002)Ⅲ类水质标准限值。总体来说,目前大液河水质达标,有一定环境容量。
根据本项目收集到汕尾市生态环境局海丰分局在安步溪(虎头沟)的2024年8月地表水监测数据,监测结果显示:安步溪(虎头沟)水质满足《地表水环境质量标准》(GB3838-2002)Ⅳ类水质标准限值,但COD、氨氮占标率很高,环境容量有限。
(2)可塘镇地表水环境质量现状
可塘镇内主要河流为东溪,可塘镇污水处理厂尾水排入东溪。根据本项目收集到汕尾市生态环境局海丰分局在黄江河东溪水闸断面收集到2023年1月—2024年8月的监测数据显示,黄江河东溪水闸断面水质满足《地表水环境质量标准》(GB3838-2002)Ⅲ类标准,但COD、高锰酸钾指数占标率较高,环境容量有限。
(3)海丰县城地表水环境质量现状
海丰县城内主要河流为丽江、黄江。海丰县城第三污水厂尾水排入红花地水库灌溉干渠后汇入龙津河。
黄江地表水环境质量现状:
根据本项目收集到汕尾市生态环境局海丰分局2023年1月—2024年12月的监测数据显示,2023—2024年黄江河水质满足《地表水环境质量标准》(GB3838-2002)Ⅲ类水质标准限值。根据2023年、2024年年平均值,尚有一定环境容量。
丽江地表水环境质量现状:
根据本项目收集到汕尾市生态环境局海丰分局2023年1月—2024年11月的监测数据显示,2023—2024年丽江年平均值均能满足《地表水环境质量标准》(GB3838-2002)Ⅳ类水质标准限值。根据2023年、2024年年平均值,尚有一定环境容量。
2、环境空气质量现状
(1)海丰县例行监测资料分析
本项目选取海丰牛黄山监测站点2023年全年逐日环境空气质量数据进行评价,该站点位于汕尾市生态环境局海丰分局。2023年,海丰县SO2、NO2、PM10、CO、O3、PM2.5年评价指标均达到《环境空气质量标准》(GB3095-2012)及其2018年修改单的二级标准限值要求。
(2)梅陇镇环境空气质量现状调查与评价
本项目收集到产业园天星湖新城片区的大气监测数据,监测时间为2023年11月25日—2023年12月1日。
监测结果分析与评价:各监测点位各监测因子均满足相应标准限值要求,未出现超标现象。TVOC最大浓度占标率13.78%,非甲烷总烃最大浓度占标率39.50%,TSP最大浓度占标率73.33%,氯化氢最大浓度占标率42.00%,硫酸雾最大浓度占标率11.00%,甲苯最大浓度占标率3.80%,二甲苯最大浓度占标率0.13%。总体来说梅陇镇环境空气质量达标,有一定环境容量。
(3)可塘镇环境空气质量现状调查与评价
本项目收集到广东惠利通检测技术有限公司在海丰县金盛宝石首饰有限公司的大气监测数据,监测时间为2021年4月17日至4月19日。
监测结果分析与评价:各监测点位各监测因子均满足相应标准限值要求,未出现超标现象。氮氧化物最大浓度占标率6.8%,氟化物最大浓度占标率1.25%,氨最大浓度占标率35%,硫酸雾最大浓度占标率14.7%,氯化氢最大浓度占标率50%,TVOC最大浓度占标率16.9%,非甲烷总烃最大浓度占标率19.5%。总体来说可塘镇环境空气质量达标,有一定环境容量。
(三)环境污染治理设施建设情况
目前海丰县的金银首饰加工企业主要集中在梅陇镇,珠宝加工企业主要集中在可塘镇,下文重点介绍梅陇镇和可塘镇的基础设施建设情况。海城镇、城东镇也分布有少量珠宝首饰企业,故下文也介绍海城镇、城东镇的环境污染治理设施建设情况。
1、梅陇镇污水治理设施建设情况
梅陇镇已有2座污水处理设施,分别为梅陇镇污水处理厂、海丰首饰产业环保集聚区废水处理厂。规划建设1座污水处理设施,为深汕合作拓展区污水处理厂(海丰四污)。
(1)梅陇镇污水处理厂
梅陇镇污水处理厂为生活污水处理厂,位于梅陇镇南部屿岭村。远期建设总规模为5万吨/d,目前近期建设规模按3万吨/d,2024年1-6月实际处理水量平均为2.85万吨/d。排放标准为《城镇污水处理厂污染物排放标准》(GB18918-2002)一级A标准及广东省《水污染物排放限值》(DB44/26-2001)中城镇二级污水处理厂第二时段一级标准的较严值。污水处理达标后排放至安步溪(虎头沟),最后进入红海湾。
(2)海丰首饰产业环保集聚区废水处理厂
海丰首饰产业环保集聚区设置有1座集聚区废水处理厂,设计处理规模为5600m3/d,目前处理规模约600 m3/d,主要处理集聚区首饰加工、电镀等工业企业废水。项目配套中水回用设备正在建设过程,后续收集的废水经过处理达到《金属镀覆和化学覆盖工艺用水水质规范》(HB5472-91)A类用水标准后回用于生产中(回用率约50%),剩余外排废水镍执行0.3mg/L排放标准,除镍以外的重金属污染物达到《电镀水污染物排放标准》(DB44/1597-2015)表3规定的水污染物特别排放限值,其余污染物达到表2规定的非珠三角水污染物排放限值后进入湿地,最终排放至大液河下游。
(3)深汕合作拓展区污水处理厂(海丰四污)
深汕合作拓展区污水处理厂为综合污水处理厂,位于海丰县梅陇镇下寮村东侧。污水处理厂分近远期建设,总规模8万吨/天,一期新建3.8万吨/d污水处理规模。出水水质执行《城镇污水处理厂污染物排放标准》(GB18918-2002)一级A标准和广东省地方标准《水污染物排放限值》(DB44/26-2001)第二时段一级标准较严值。污水处理达标后排入大液河。
2、可塘镇污水治理设施建设情况
可塘镇已有1座污水处理设施,为可塘镇污水处理厂。规划建设4座污水处理设施,为海丰县可塘珠宝产业环保集聚区、海丰县雅天妮综合环保工业园、海丰金晟宝石首饰园区、可塘易丰宝石环保工业区内的污水处理设施。
(1)可塘镇污水处理厂
可塘镇污水处理厂为生活污水处理厂,位于可塘镇君硕围村。设计处理规模为2.5万吨/d,2024年1-6月实际处理水量平均为1.36万吨/d。污水处理达标后排放至东溪。排放标准为城镇污水处理厂污染物排放标准(GB18918-2002)一级A标准。采用工艺为A2/O一体化微曝氧化沟处理工艺。
(2)海丰县可塘珠宝产业环保集聚区污水处理站
海丰县可塘珠宝产业环保集聚区位于海丰县可塘镇圆山岭开发区,计划设置1座污水处理站,占地面积720平方米,废水处理规模60立方米/天。
(3)海丰县雅天妮综合环保工业园污水处理站
海丰县雅天妮综合环保工业园位于海丰县可塘镇圆山岭工业园,计划设置1座污水处理站。
(4)海丰金晟宝石首饰园区污水处理站
海丰金晟宝石首饰园区位于海丰县可塘镇长桥工业园,计划设置1座污水处理站。
(5)可塘易丰宝石环保工业区污水处理站
可塘易丰宝石环保工业区位于海丰县可塘镇长桥村委金钱埔前,计划设置1座污水处理站,废水处理规模200万吨/年。
3、海城镇、城东镇污水治理设施建设情况
海丰县城第一污水处理厂纳污范围主要包括海城镇。海丰县城第二污水处理厂纳污范围主要包括城东镇镇区,海丰县城第三污水处理厂纳污范围主要包括海城镇、城东镇。
海丰县城第一污水处理厂选址于海丰县附城镇海丽大道与丽江交汇处道山村委,占地面积为8万平方米,定位为城市污水处理厂,设计总处理能力为8万m3/d,目前已建成投产。污水处理厂尾水经处理达到《城镇污水处理厂污染物排放标准》一级A标准、《水污染物排放限值》DB44/26-2001第二时段一级标准较严值,排入丽江,最终进入长沙湾海域。
海丰县城第二污水处理厂位于海丰县城东镇赤山村委下铺村与新江村委溪墩村之间交界处,设计总处理规模80000m3/d,目前处理规模为40000m3/d的一期工程已完工并投入使用。污水处理厂尾水经处理达到《城镇污水处理厂污染物排放标准》一级A标准、《水污染物排放限值》DB44/26-2001第二时段一级标准较严值,排入横河,经丽江最终进入长沙湾海域。
海丰县城第三污水处理厂位于海丰县北三环以北、规划纵一路以东、美达化工有限公司以西地块。设计总规模为8.0万m3/d,分两期建设,一期设计处理规模为3万m3/d。尾水处理达到《地表水环境质量标准》(GB3838-2002)Ⅳ类标准、《广东省水污染物排放限值》(DB44/26-2001)第二时段一级标准和《城镇污水处理厂污染物排放标准》(GB18918-2002)一级A标准中较严者后,尾水排入红花地水库灌溉干渠,汇入龙津河。
第二节 发展不足
一、海丰首饰环保集聚区建设滞后,无法承载全县首饰加工产业规模
根据“报告书”,海丰首饰产业环保集聚区用地总面积约为0.8177km²,规划建设年限为2018年至2025年。截至2025年5月,海丰首饰产业环保集聚区已建成厂房20栋及相应配套设施,建筑面积约174889.75平方米;日处理5600吨的废水处理厂已投入运营;集聚区废水收集管网已完成。整个园区现有241个项目相继投产,建设进度相对滞后。经统计,《汕尾海丰首饰行业整治规划(2018-2022)》要求搬迁入园企业中,仅海丰县梅陇盛利首饰厂、联兴首饰厂、海丰县梅陇金缘首饰厂3家企业搬迁入园,其余478家原地保留,未搬迁入园集聚管理。多数企业生产经营自成体系,搬迁入园需要投入大量资金,包括厂房建设费、设备搬迁费等。对于一些资金实力较弱或利润较低的企业来说,搬迁成本可能过高,因此选择原地保留。
另外,由前文可知,经过多年的发展,海丰县首饰加工产业规模不断壮大,首饰集聚区加工厂房用地规模无法承载全县首饰加工企业的使用需求。
二、原规划已到实施期限,与目前产业发展形势不相符
《汕尾海丰首饰行业整治规划(2018-2022)》规划期限为2018至2022年,现状已到实施期限。
目前,广东海丰经济开发区在战略发展规划中,明确将珠宝首饰产业确立为引领发展的主导产业。2024年3月,《广东海丰经济开发区规划修编环境影响报告书》通过广东省生态环境厅审查,同意珠宝首饰作为开发区的主导产业之一,为在集聚外引进首饰加工产业、拓展产业发展空间提供了政策支撑。
位于海丰县城东镇生态科技城的海迪时尚美都产业园,占地面积750亩,建成后预计年产值26亿元、纳税约1.5亿元,其以“绿色环保、技术共享、产城融合、直播营销-互联网+”为特色,亦将珠宝首饰作为核心产业之一。大美丽、大美妆产业的蓬勃兴起也对配套首饰制造行业提出了补链、强链的迫切需求。
总体而言,原规划已不符合当下的实际经济发展形势。为促进首饰产业高质量发展,需结合首饰产业发展状况与各区域开发资源条件、首饰产业发展布局要求、准入要求等组织编制新一轮海丰县首饰行业产业发展规划,科学确定首饰产业发展规模,进一步优化产业布局。
三、产业结构不合理,产业转型升级进度仍显滞后
海丰县金银珠宝首饰已形成较为完善的产业链条,但企业多为“前店后厂”“三来一补”的作坊式生产加工企业,规模偏小,行业准入门槛低,对于企业规模、技术、资金、劳动力素质等要求不高,生产经营以“低质跑量”为主,处于低利润产业链下游。目前主要存在以下问题:
(一)企业生产利润低、产值税源增长贡献偏低
海丰县珠宝首饰原材料来自世界各地,进口形式多种多样,流通过程的中间环节多,企业经营成本、物流成本增加。此外,大多企业产品附加值不高,竞争力不强,在市场竞争中处于劣势地位,需要借助与网红、明星、大V等直播合作拓宽市场、提升品牌影响力,流量成本攀升。企业面临着“加工利润低、生产成本高”的双重压力。由于成本发票来源复杂,部分供应商无法提供进项发票,企业做账难度大,不能实施进项税额抵扣,企业税负率增加。另一方面,企业多而不强,规上企业仅8家。企业自身的资金短缺、税收法治观念淡薄、纳税意识不强,以及财务制度不健全、核算不真实等原因,也导致纳税覆盖率偏低。
(二)企业创新、品牌意识不强,产品同质化严重
海丰县大部分企业缺乏技术和营销管理理念的创新意识,没有创建自己的品牌,研发空白、设计能力差。缺乏知识产权保护意识,仿冒假冒品牌的现象较为显著,出现款式同质化严重,行业恶性竞争严重。加之近年来受金融危机及全球经济疲软影响大,出口形势严峻,造成部分企业实施价格战,过度低价销售和产品仿制促使行业内出现一定程度的恶性竞争。
(三)配套设施不完善,技术型人才短缺
在工业化、城镇化快速推进过程中,海丰县出现了交通拥堵、环境污染、生活成本攀升等问题,住房、医疗、教育等配套设施尚不完善,难以满足居民日益增长的生活需求,宜居宜业水平不高。另一方面,企业自主创新意识不强,没有投入资金进行产品的研发和设计,缺乏科学有效的人才培养与激励机制,技术工人收入待遇不高,难以充分激发其工作积极性和创造力。
(四)产业链条存在缺失
目前,海丰县暂无下游专业开展首饰贵金属回收与提纯的企业,企业主要将其发往惠州等地进行处理,处理成本较高,且面临跨区域监管漏洞、合作方资质风险及运输污染隐患。部分企业为降低成本,铤而走险逃避合规处理,选择非法焚烧提纯,政府监管难以及时发现和取证,存在环境风险隐患。
(五)工艺设备水平较低,存在一定环保隐患
海丰县现有珠宝首饰企业主要以中小企业为主,部分企业工艺设备水平及清洁生产水平较低且使用自动化程度低,结构不合理,能耗、水耗高的设备,企业生产废水排放量大,回用率低。此外,许多珠宝首饰加工企业分布在居民区中,企业经营规模小,经营者资金有限,现有设备老化严重,且长久以来未得到及时更新与升级。
海丰县部分首饰企业经营者环保意识不强,个别企业为了贪图眼前利益,有时在订单增多的情况下,不考虑本单位现有的排放存量指标,存在污水、废气超负荷超标排放情况。部分企业安装了废气、废水处理设施但未正常运行,部分企业甚至未安装处理设施,导致废气、废水直排现象时有存在。另外,县内部分现状未搬迁入首饰环保集聚区的分散首饰加工企业,其生产废水采用储罐收集后由槽罐车运输至海丰首饰产业环保集聚区污水处理厂处理。在废水的收集、运输过程均存在泄漏、偷排的环境风险,而且难以进行监管。
(六)使用低劣辅料现象亟待整治,多重风险威胁产业生态
近年来,部分珠宝首饰加工企业为压缩生产成本,存在以洁厕灵、劣质溶剂等非专业化学试剂替代工业级试剂的乱象,导致废液、废气、废渣污染负荷激增,形成“劣币驱逐良币”的恶性循环。此外,消费者对化学残留的担忧导致退货率攀升,行业整体复购率下降,不利于珠宝首饰行业长期健康发展。
四、产业布局不尽合理,存在一定邻避效应
目前海丰县金银首饰加工企业主要布局在梅陇镇的三个过渡区东怡工业片区、泰利工业片区、梅北工业片区。近年来,为了衔接好梅陇镇首饰加工行业向海丰首饰产业环保集聚区的平稳过渡,梅陇镇制定了《梅陇镇首饰加工行业提升整治实施方案》及《梅陇镇首饰加工行业污染整治过渡性方案》等方案,将全镇大部分首饰加工搬迁至东怡工业片区、泰利工业片区、梅北工业片区三个保留工业区,一定程度减少了首饰加工企业生产废水及废气对周边居民生活的影响,但由于上述工业区距离居民区较近,仍存在部分关于首饰加工企业废水、废气及噪音扰民的投诉。可塘镇方面,珠宝首饰加工企业主要布局在可塘镇长桥工业园,长桥工业园区及周边区域人口集聚且数量较多,珠宝首饰加工企业与居民区混杂现象明显,关于首饰加工废气及噪声的投诉数量较多,对周边居民生活产生一定的不良影响。
五、配套基础设施建设滞后,生产废水处理能力有限
海丰县珠宝首饰主要集中在可塘镇,目前可塘镇内已建成投入使用的污水处理设施为可塘镇污水处理厂,该污水处理厂定位为生活污水处理厂,接纳的污水类型以生活污水为主。该污水厂设计处理规模为2.5万吨/d,根据可塘污水厂实际运行中的管理要求,可接纳处理水量的5%~20%的工业废水量,约为0.125万至0.5万吨/d。预计随着珠宝产业的发展壮大,珠宝产业的工业废水量将增加,仅依托现有的可塘镇污水处理厂进行废水处理,压力较大。珠宝产业的工业废水氟化物浓度较高,现状可塘镇污水处理厂采用工艺为A2/O一体化微曝氧化沟处理工艺,没有设计专门的除氟工艺,对珠宝产业工业废水的处理能力有限。现有污水处理设施处理能力有限。可塘镇内珠宝园区配套的污水处理厂设施尚处于计划阶段,污水处理设施建设滞后,难以承接大批量的珠宝企业的生产废水。
六、周边水环境容量有限,制约产业发展
海丰县珠宝首饰企业现状主要分布在可塘镇,金银首饰产业现状主要分布在梅陇镇。可塘镇污水处理厂纳污水体为东溪,东溪为Ⅲ类水体且下游有东溪水闸国考断面,目前水环境质量能达标,但环境容量有限,对产业发展规模有一定制约。梅陇镇污水处理厂纳污水体为安步溪(虎头沟),目前水环境质量能达标,但环境容量有限。总体来说,珠宝首饰主要分布镇区周边水环境容量有限,对后续产业发展有一定的制约,对污染治理水平有较高的要求。
第三节 发展机遇
一、国家高度重视轻工业高质量发展、绿色发展
现代轻工纺织业包括文教、工美、体育和娱乐用品制造业,珠宝首饰行业属于现代轻工业。轻工业是我国国民经济的优势产业、民生产业,在国际上具有较强竞争力。《轻工业稳增长工作方案(2023—2024年)》提出,在箱包、制鞋、家居、珠宝、陶瓷、玩具和婴童用品、自行车、塑料制品等领域开展设计大赛,加强原创设计、创意设计。《工业和信息化部 人力资源社会保障部 生态环境部 商务部 市场监管总局关于推动轻工业高质量发展的指导意见》提出,鼓励企业进园入区,引导企业逐步淘汰高耗能设备和工艺,推广使用绿色、低碳、环保工艺和设备,推进节能降碳改造、清洁生产改造、清洁能源替代、新污染物环境风险管控、节水工艺改造提升,提升清洁生产水平、减污降碳协同控制水平及能源、资源综合利用水平。建设高水平的产业集群。推动现有集群转型升级,构建资源高效利用、绿色低碳环保、产业分工协作、企业共生发展的生态体系。在革命老区、民族地区因地制宜发展特色轻工产业。2024年《政府工作报告》提出,要大力推进现代化产业体系建设,加快发展新质生产力。实施制造业技术改造升级工程,培育壮大先进制造业集群,创建国家新型工业化示范区推动传统产业高端化、智能化、绿色化转型。
二、地方重视轻工业发展
轻工纺织产业是广东省重点培育发展的十大战略性支柱产业集群之一。《广东省人民政府关于培育发展战略性支柱产业集群和战略性新兴产业集群的意见》明确提出,构建以广州、深圳为核心的创新创意中心,以沿海经济带、各特色产业集聚地为重点的先进制造基地网络,形成国内领先、具有全球竞争力的现代轻工纺织产业集群。《广东省发展现代轻工纺织战略性支柱产业集群行动计划(2021—2025年)》提出,支持纺织服装、家具、造纸及纸制品、陶瓷、珠宝首饰等行业重大投资项目建设。
金银珠宝首饰是汕尾市、海丰县的优势传统制造业,属于汕尾市、海丰县大美丽产业之一,是重点发展的产业。《汕尾市贯彻落实稳定和提升加工贸易若干政策措施助力“百千万工程”实施方案(2023-2025)》提出,积极引导外商投向先进制造业和新兴产业领域,促进电子信息、电力能源、汽车制造、海工装备、服装珠宝等先进制造业加工贸易提档升级,推动加工贸易向高质量、高附加值方向发展。《汕尾市制造业高质量发展“十四五”规划》提出,支持海丰加快建设国家级珠宝玉石鉴定中心和申办省级珠宝交易所,打造“中国金银首饰加工销售基地”,积极组织珠宝、金银首饰企业参加深圳国际珠宝展,提升“中国彩宝之都”“中国珠宝玉石首饰特色产业基地”的品牌影响力。力争到2025年,金银珠宝首饰业产值达到300亿元。《汕尾市进一步提振和扩大消费若干措施》提出,组织企业参加中国跨境电商交易会、深圳水贝珠宝展、香港珠宝展等展会,推广我市跨境电商综试区建设成果,提高我市珠宝的知名度和影响力,推动本地特色产业带发展。围绕我市珠宝等优势产业名优产品,支持各县(市、区)、各行业商会协会自主办展,加大品牌营销和产品促销力度。《汕尾市产业强镇建设实施方案(2023-2027年)》提出,以可塘、梅陇镇为主导,建设集研发设计、生产加工、展销贸易、旅游观光于一体的金银珠宝首饰专业镇。根据《关于推进汕尾市珠宝金银首饰产业转型发展行动计划》,全市基本形成促进珠宝、金银首饰制造业高质量发展的政策支持体系和制度环境,珠宝、金银首饰产业规模质量、结构质量、效益质量、创新质量基本达到全省中游水平。根据《汕尾市促进工业经济高质量发展若干措施》,对于汕尾市省级产业园区及承接产业有序转移主平台内新投产并符合条件的工业企业,以事后奖补方式,按设备购置额及自建厂房(不含土地购置成本)固定资产投资额不超过10%予以一次性奖励,每个项目(企业)累计最高不超过2000万元。根据《中共汕尾市委办公室 汕尾市人民政府办公室关于全面推进“百县千镇万村高质量发展工程”促进城乡区域协调发展的实施意见》,发展壮大县域经济,加快县域产业培育转型,力争到2025年海丰县大美丽产业产值达到200亿元以上。
三、信息科技为传统产业发展注入新机遇
发挥深汕合作拓展区的优势,吸引深圳创意设计资源,推动珠宝、首饰产业加快向产品研发、设计、营销等价值链高端延伸。引导珠宝、首饰企业提高科技含量和设计水平。大力推动珠宝、首饰企业加快实施智能化升级改造,建设自动化车间和智能工厂。将云计算、大数据应用到珠宝行业,打造融汇时尚和高科技的可穿戴智能珠宝产品。把握跨境电商发展的新趋势,积极发展珠宝、首饰产品的跨境贸易。
四、广东积极推动产业有序转移,深汕合作拓展区建设带来产业转移新机遇
《关于推动产业有序转移促进区域协调发展的若干措施》提出,实施新一轮省内对口帮扶协作,引导更多珠三角地区产业向粤东粤西粤北地区转移,支持粤东粤西粤北各市以现有园区为基础,打造承接产业有序转移主平台。《中共广东省委关于实施“百县千镇万村高质量发展工程”促进城乡区域协调发展的决定》提出,重点发展比较优势明显、带动农业农村能力强、就业容量大的产业,有序承接产业转移,深化“研发+制造”“总部+基地”等合作模式,开展联合招商引资,建设一批加工贸易产业转移园。海丰县正立足珠宝首饰产业基础优势,主动承接粤港澳大湾区和深圳先行示范区“双区”产业有序转移。
加快深汕合作拓展区的建设,努力打造汕尾市承接珠三角地区轻工纺织产业有序转移主平台。对标深圳标准完善园区基础设施及配套设施建设,引导珠三角珠宝首饰产业向海丰转移。引导产业集中布局,吸引上下游企业入驻,引入研发设计、创新创意等高端资源,提升产业集聚水平。
第二章 总体要求
一、指导思想
坚持以习近平新时代中国特色社会主义思想为指导,全面贯彻党的二十大和二十届二中、三中全会精神,深入贯彻落实习近平生态文明思想和习近平总书记视察广东重要讲话、重要指示精神,完整准确全面贯彻新发展理念,认真落实汕尾市委、市政府关于推动传统优势产业转型升级的系列要求,紧紧抓住深圳都市圈建设、“双区驱动”“两个合作区”建设、“双城联动”等重大机遇,加快融入“湾+区+带”战略布局,主动承接粤港澳大湾区现代产业转移,立足海丰县资源、环境、区域、特色等发展优势,坚持以绿美广东生态建设为牵引,深入实施“百县千镇万村高质量发展工程”,以推动首饰产业高质量发展为主题,通过建设高标准产业园区,以项目建设为支撑,不断提升珠宝、金银首饰产业的市场竞争力,切实推动传统产业绿色转型升级,推动海丰县建设沿海经济带靓丽明珠和革命老区高质量发展示范区排头兵。
二、基本原则
政府引导、市场主导。充分发挥市场在资源配置中的决定性作用,促进要素资源有序流动、高效配置。更好地发挥政府作用,完善制度体系,规范行业秩序,强化分类指导,搭建数据平台,营造助力首饰产业高质量发展的良好环境。
建延强补、稳固提融。持续完善珠宝首饰加工行业产业链,巩固强化产业链优势环节,着力补全产业链关键缺失环节,推动产业链上下游企业协同发展、配套协作,提升海丰县首饰产业特色优势。
需求导向,创新驱动。以市场需求为导向,顺应并把握消费升级的大趋势,大力提升创意设计水平,加速时尚元素融入,积极打造时尚品牌,以此带动技术、产品、服务和商业模式的创新。深入实施创新驱动发展战略,发挥海丰首饰集聚区的创新引领作用,加快创新要素集聚,搭建创新创业服务平台,提高研发创新能力和产业技术水平。
项目引领,协同开放。加大对首饰产业高端、高附加值、资本科技密集型项目以及重大创新资源类项目的引进力度,为行业发展注入新动力。加强与深圳龙岗、广州番禺等区域产业合作对接,推动产业更好地 “引进来”和 “走出去”
集聚集约、绿色低碳。秉承集聚集约发展理念,精准高效配置产业发展资源,强化头部企业带动,加快上下游产业配套,推动首饰产业向园区集中、要素向园区保障的发展格局,打造首饰专业集聚区。强化绿色低碳发展理念,加强绿色低碳环保技术、工艺、装备的推广应用,提升绿色发展水平,助力实现“双碳”目标。
三、发展目标
坚持“强龙头、补链条、聚集群”的发展思路,以“科技、绿色”为产业新定位,推动产业高端化、绿色化、集约化发展,促进首饰产业转型升级、提质增效,构建特色鲜明、全链融合、绿色安全,具有较强竞争力的产业体系,打造成为广东省沿海经济带珠宝首饰产业新高地和汕尾市传统产业转型升级示范区。
到2030年,全县珠宝首饰产业经济总量迈上新台阶,创新能力不断增强,产业结构持续优化,集聚集约水平明显提高,绿色发展成效显著,高质量发展的首饰产业集群体系初步形成。
展望到2035年,全县珠宝首饰产业综合竞争力显著提升,创新驱动与数字化转型成效突出,珠宝首饰产业链完善,绿色集约化发展模式基本建立,成为广东省内具有鲜明特色的现代化珠宝首饰产业集聚区。
——产业规模持续扩大。到2030年,全县珠宝首饰加工规模及总产值相比2024年增加率达到20%。力争完成“小升规”首饰企业5家以上,珠宝金银首饰产业链条整链联动成效明显。
——产业发展主平台持续完善。海丰首饰产业环保集聚区、汕尾海丰产业园区、可塘镇长桥工业园等全县产业发展主平台的基础配套加快完善,园区综合配套能力和吸引力不断提升,产城融合水平大大提高,管理机制进一步健全,营商环境持续优化。
——“三品”建设持续完善。首饰产业技术规范及质量标准体系不断完善,产业供给结构持续优化,本地自主品牌培育力度持续加大,打造一批具有地域 特色的区域品牌,产品体系加速更新迭代,高新技术产品产值占比显著提升,企业及产品竞争力明显增强,形成一批市场认可度高、美誉度好的知名品牌,品种丰富度、品质满意度和品牌认可度明显提升。
——产业创新能力持续提升。指导珠宝首饰制定行业技术发展路线,强化技术研发及发明专利布局,将专利信息利用融入珠宝金银首饰产业技术研发过程,提高珠宝金银首饰产业技术创新效率与水平。充分运用汕尾创新岛(深圳)、汕尾创新岛(广州)的合作优势,依托深圳及广州强大的科创资源,将汕尾金银珠宝首饰设计纳入研发范畴,推动两市珠宝金银首饰产业要素高效协同,形成“研发设计在深圳,转化落地在汕尾”创新模式。
——绿色发展持续深化。企业生产工艺持续更新,节能环保设施逐步完善,绿色生产技术持续推广,建设一批绿色工厂。到2030年,单位工业增加值能耗、单位工业增加值水耗、主要污染物排放等指标均控制在国家以及省市下达指标范围内,力争海丰首饰产业环保集聚区建成绿色园区。
第三章 发展重点及整体布局
一、发展重点
当前,海丰县珠宝首饰加工产业主要是劳动密集型产业,属于比较典型的中国传统制造业。近年来,随着国内外环境的发展变化,珠宝首饰产业也亟待转型升级,将不单单是一个单纯的传统“制造”行业,将成为融合制造、零售、管理、设计、文化、时尚、科技等各种因素的“大时尚、大消费”行业。后续首饰产业应适应市场需求变化,把握技术发展趋势,综合运用AI、新技术、新材料、新工艺、新装备和新商业模式,积极培育发展产业链龙头企业和配套企业,推动首饰优势产业品牌化、高端化、智能化和绿色化发展,提高产品附加值和市场竞争力,巩固传统制造业发展优势。
(一)金银首饰
以梅陇镇等专业镇为依托,加快建设集研发、设计、生产制造、展示交易和旅游观光为一体的金银首饰产业集聚区,打造中国金银首饰加工销售基地。
加快推进海丰首饰产业环保集聚区等产业发展主平台及其配套设施建设,引导企业入园建设,为金银首饰业的技术改造和技术创新提供平台,将海丰首饰产业环保集聚区建设成专业首饰产业园区,最终推动首饰业从产业链低端向“微笑曲线”两端延伸。持续完善首饰加工产业链,在海丰首饰环保集聚区等产业发展主平台布置产业链下游资源回收利用项目。
持续深化企业入园工作,针对入园企业产生的空置厂房以及闲置工业用地,结合规划实施情况适当考虑布局建设首饰加工体验馆与休闲展厅等项目。通过科学选址与精准运营,确保此类建设项目与当地首饰产业发展规划深度融合,既满足展示、体验等功能需求,又能有效提升产业集聚度和品牌影响力,助力海丰县首饰产业高质量发展。
以消费者个性化需求为导向,发展个性化定制等业务。通过联合、并购等方式整合中小微企业,大力扶持龙头企业发展。鼓励企业加大自主创新、品牌创建、研发设计、技术攻关、质量检测、新型销售网络建设等方面的力度,全面推进金银首饰产业转型升级。
积极推进金银首饰质检中心建设,打造包括检测检验平台、研发中试平台、检验技术研究与检测方法制修订平台、标准汇集与制修订平台、高端人才吸聚平台、专业技术人员培训平台等服务平台,为广东乃至周边地区金银首饰业提供从产品研发到成品验收检验的全产业链的检测技术支持。
加强推动金银首饰加工企业“个转企”“小升规”工作,推动首饰产业转型发展,培育一批百亿级、在全国拥有品牌知名度的特色产业集群。力争到2030年,海丰县形成规模大、实力强、特色明和具有较强辐射带动能力和影响力的金银首饰产业集群。
(二)珠宝
加快推进可塘长桥珠宝产业园、海丰县可塘珠宝产业环保集聚区、海丰县雅天妮综合环保工业园、海丰金晟宝石首饰园区、可塘易丰宝石环保工业区、东维亚珠宝科技产业园(三期)等产业平台建设。在可塘镇白沙村谋划建设集研发、设计、生产制造、展示交易、旅游观光、加工、销售为一体的珠宝产业园区,持续完善园区环保治理措施及市政基础设施,有序引导企业入园建设。积极拓展研发设计、展示交易、品牌营销等配套产业链,努力打造全产业链条。积极鼓励企业引进使用数字化技术、3D打印技术、云技术等,全面提升创意、设计、优化、成形、交付等环节效率和品质,促进设计创新。将云计算、大数据应用到珠宝行业,打造融汇时尚和高科技的可穿戴智能珠宝产品。
重点整合可塘珠宝交易市场、可塘荔塆广场等珠宝专业市场,利用旧粮库打造珠宝文创园,推进促进“珠宝+旅游业”融合发展,探索打造工业旅游项目,涵盖观光旅游、精品购物、游学体验的全旅游产业链,将海丰打造成为珠宝旅游购物消费胜地。
推动建设国家级珠宝玉石鉴定中心和申办省级珠宝交易所,积极申报“中国珠宝加工销售基地”,完善珠宝产业服务配套,建设珠宝技术培训学校、产品研发中心、宝石鉴定中心、电子商务平台、中小企业金融服务中心、物流信息中心、中高端酒店,将可塘打造成为彩宝特色小镇,提升“中国彩宝之都”“中国珠宝玉石首饰特色产业基地”的品牌影响力
加强推动珠宝首饰加工企业“个转企”“小升规”工作,推动产业转型发展,培育一批百亿级、在全国拥有品牌知名度的现代化珠宝产业集群,建设具有全国影响力的珠宝产业创新示范区。
二、产业准入
1、新改扩建珠宝首饰加工项目要采用先进的工艺、设备,禁止引入《产业结构调整指导目录》中限制类及淘汰类的工艺及装备,不得涉及《市场准入负面清单》中的禁止事项。
2、新改扩建珠宝首饰加工项目应符合广东省及汕尾市生态环境保护相关法律法规、法定规划,以及相关产业结构调整、区域及行业碳达峰碳中和目标、重点污染物总量控制等政策要求。
3、新改扩建珠宝首饰加工项目选址应符合汕尾市以及海丰县生态环境分区管控要求,不得位于法律法规明令禁止建设的区域,应避开生态保护红线且尽量远离敏感点。海丰首饰产业环保集聚区外不得新建、改扩建首饰加工电镀项目。新扩建珠宝首饰加工项目优先选址在海丰首饰产业环保集聚区、海丰县海迪时尚美都产业园、汕尾海丰产业园区、可塘长桥珠宝产业园、海丰县可塘珠宝产业环保集聚区、海丰县雅天妮综合环保工业园、海丰金晟宝石首饰园区、可塘易丰宝石环保工业区、东维亚珠宝科技产业园等产业平台或共性工厂内。涉及泡酸、倒模、化学研磨等污染较重工序加工项目原则上应进入配套治理措施完善的产业平台、共性工厂、产业园区等集中发展、集中治污。
4、新改扩建珠宝首饰加工项目应采用资源利用率高、污染物产生量小的清洁生产技术、工艺和设备,持续提高单位产品的能耗、物耗、水耗、资源综合利用和污染物控制水平。严格控制新设立高耗能、高污染珠宝首饰加工项目,遏制小型黄金珠宝加工等低投入、低附加值、低税收、高污染“三低一高”发展。贯彻落实“节水优先”方针,持续提高加工废水回用率。涉及配套电镀工序企业需满足达到国际清洁生产先进水平,其余企业有行业清洁生产标准的要达到国内清洁生产先进水平。
5、新改扩建珠宝首饰加工项目要满足《梅陇首饰银S930技术要求》《梅陇首饰精工镶嵌技术规范》和《梅陇首饰机织链技术规范》等行业标准要求。
6、按照清污分流、雨污分流、分类收集、分质处理的原则,设立完善的废水分类收集、处理、回用系统,提高水循环利用率,生产废水尽量回用,减少废水外排量。
三、整体布局
按照汕尾市委、市政府提出的“构建‘万亩千亿’大产业平台,打造一批空间容量大、基础配套优、体制机制活的百亿级产业承载平台”工作要求,围绕推动传统产业改造升级,以海丰县国土空间总体规划为指导,坚持“集约用地、产业集聚、生态优先”原则,推进产业合理布局,引导珠宝首饰加工行业组团式、联结性发展,到2030年形成以海丰首饰产业环保集聚区为行业核心,梅陇镇、可塘镇为片区中心,汕尾海丰产业园区、可塘镇长桥工业园等产业平台联合发展的“一核两片区多平台”,全县统筹发展的格局。
一核心:以位于梅陇镇的海丰首饰产业环保集聚区作为首饰加工的专业园区,重点集聚注蜡、倒模、电镀等首饰加工环节、末端回收利用、污水专业处理、行业发展服务、行业配套等功能,作为全市首饰加工行业的重点,是行业发展核心。
二片区:以梅陇镇、可塘镇形成的两个首饰专业镇,作为珠宝首饰加工行业的发展片区,围绕发展核心配套相关产业及服务,为产业链发展、产业体系建设建立足够的发展空间,持续完善配套基础设施,逐步推进镇内企业入园发展。逐步推进上述两个镇向专业片区、产业链片区建设发展,推动城乡融合,构建居住、生活、工作多元化发展体系,打造产城融合发展的示范片区。
多平台:以汕尾海丰产业园区、海丰县海迪时尚美都产业园、可塘长桥珠宝产业园等配套基础设施相对完善的产业园区为载体,提升发展除配套电镀外的珠宝首饰加工产业。依托深圳—汕尾共建产业合作园,积极融入深圳产业发展体系,深化“总部+基地”“总装+配套”“研发+产业化”“前店+后厂”等多种产业协同发展模式,不断完善园区配套基础设施建设,优化园区营商环境,强化人才、土地、金融等要素保障供给,提高园区运营管理水平和产业承载能力,释放园区产业活力,加快推动产业链“建链强链补链”,持续推动首饰产业向价值链更高环节提升,强化前端研发设计和后端品牌营销能力,形成一批具有品牌效应和高科技含量的产品和企业。
全县统筹发展:以“一核两片区多园”为珠宝首饰加工行业发展重点区域,支持海丰县城区等配套较完善的城镇中心积极发展生产性服务业,加强前端设计和后端服务建设,推动产品及先进工艺研发、品质检测、营销等生产性服务业发展。
展望到2035年,构建以海丰县城为核心枢纽,梅陇镇、可塘镇为两大副中心,汕尾海丰产业园区、可塘镇长桥工业园等多元创新载体协同发展的“一枢纽两中心多载体”空间布局体系。
第四章 重点任务
第一节 实现新一轮产业规划,统筹优化产业发展布局
强化规划政策引领。严格按照本次产业规划要求,推进首饰产业合理布局,搭建以海丰首饰产业环保集聚区为行业核心,梅陇镇、可塘镇为片区中心,汕尾海丰产业园区、可塘镇长桥工业园等产业园联合发展的“一核两片区多平台”,全县统筹发展的格局。
第二节 加快海丰首饰产业环保集聚区等产业平台建设
树立企业绿色发展理念,增强企业环境保护意识,开创珠宝生产企业支持环保、参与环保、共创环保的良好局面。加快海丰首饰产业环保集聚区、汕尾海丰产业园区、可塘长桥珠宝产业园等产业主平台及其配套设施的建设。结合实际情况谋划建设由梅陇镇通往集聚区的专用道路,为梅陇镇现有的首饰加工企业搬迁入园做好充足准备。
推进工业园区配套的集中工业污水治理措施建设,实现废水集中收集处理。结合珠宝首饰行业的生产工艺流程及污染物产生环节,涉及泡酸、化学研磨、倒模等重污染工序必须入园建设。同时在上述珠宝首饰工业园区内,预留一定数量的厂房用于引进除以上重污染工序以外的珠宝首饰加工企业。引导和发动企业入园集约经营,走绿色发展之路。同时,协调园区从厂房售价、租赁价格、水电费等方面给予优惠,充分调动企业入园的积极性。
以高标准、高水平建设的海丰首饰产业环保集聚区吸引首饰加工企业入园。政府出台相关资金、技术支持扶持政策,大力推动梅陇首饰企业按计划分阶段搬迁入园,实现集中生产、集中治污,实现首饰行业的绿色高质量发展。
加速推进白沙村珠宝产业园建设,建立集原料采购-研发设计-生产加工-污废处理-展销物流的全产业链综合珠宝产业园。
加快推进可塘长桥工业园建设,整合提升可塘长桥工业园生产及生活环境,推动可塘长桥工业园区道路扩宽、给排水、供电、厂房装修等基础设施建设,持续优化工业园生产及生活环境。在可塘镇谋划建设珠宝首饰加工共性厂房及集中工业污水处理厂,持续完善园区环保治理措施及市政基础设施,有序引导企业入园建设,通过企业入园集聚发展,持续优化产业布局,进一步缓解片区邻避效应问题。加大园区开发建设资金投入,高标准打造可塘镇珠宝产业发展主平台。完善深汕合作拓展区载体建设,对标深圳标准完善园区设施“硬环境”和管理服务“软环境”。 支持深汕合作拓展区建设成为深圳—汕尾对口合作示范基地,形成“特区带老区”区域协调发展样板。完善现有珠宝产业园的各项配套设备,实现“原料采购-研发设计-生产加工-污废处理-展销物流”的全产业链布局升级。
推动分散加工企业(作坊)向工业园区集聚加工,吸收产业链上下游企业、高新技术研发企业、配套服务行业企业等入园生产,形成产业集聚、技术集聚、人才集聚和资源共享的产业聚集效应。高标准建设各园区的污水处理厂,保证珠宝首饰废水处理达标后排放,避免企业“乱排偷排”情况发生,为珠宝首饰传统产业转型升级建好载体。
第三节 持续完善珠宝首饰产业链条
实施补链工程,聚焦产业链优势潜力、短板弱项和空白环节,进一步打通产业链堵点、连接断点、畅通痛点,强化关键材料、关键环节、关键领域、关键产品保障能力,建立自主可控、安全可靠的生产供应体系。大力推动珠宝首饰产业链补链工作,重点增强下游回收利用环节,积极谋划在海丰首饰产业环保集聚区等产业平台引进废旧首饰、废旧贵金属、首饰加工废料回收提纯企业,谋划在可塘镇内珠宝首饰工业区内引进宝石废水处理污泥资源循环利用企业。
完善招商产业链条。结合产业工艺升级需求,借鉴郴州、瑞丽等地的“全产业链+环保配套”模式,聚焦完善提升产业链条,系统选择重点招商目标企业,开展一对一联系、点对点招商,特别是要引进污染治理服务专业机构参与珠宝加工过程中污染防治技术攻关,着力推动珠宝产业绿色化、循环化发展。
第四节 健全企业梯度成长机制
发展壮大龙头企业梯队。成立镇首饰行业服务工作专班,推出技术、财政等支持政策。加强对金盛首饰、展鹏首饰、添福珠宝等龙头企业的支持力度,鼓励龙头企业通过兼并、收购、联合等方式进行强强联合和上下游一体化经营,加快培育一批资源配置能力强、国际国内市场占有率高、具有核心竞争力的企业。
加快培育优质企业梯队。加强推动珠宝首饰加工企业“个转企”“小升规”工作。进一步完善企业梯队培育机制:一是优化政策资金申请、审批、发放流程,建立“申报-审核-拨付”全周期督导机制,确保资金高效发放到相关企业,助力企业高效推进“小升规”工作;二是聚焦“小升规”关键节点,在省市现有政策的基础上,推动制定海丰县层面的产值突破奖励、技改投资补助等专项政策;三是设立“小升规”专班,全程跟进珠宝首饰加工企业申报“小升规”工作,帮助企业解决入规过程中的财务规范、统计申报等实操问题。
第五节 推动特色强镇建设
深入贯彻落实省委、市委实施“百县千镇万村高质量发展工程”总体部署和市委、市政府打造革命老区高质量发展示范区的建设目标,建设产业特色强镇。以可塘镇、梅陇镇等镇为主导,建设集研发设计、生产加工、展销贸易、旅游观光于一体的金银珠宝首饰专业镇。盘活废旧珠宝首饰厂房资源,适当发展文旅产业。实施废旧珠宝首饰加工厂房活化利用工程,将其纳入城市更新重点项目库。通过“功能重塑+业态焕新”双轮驱动策略,重点打造三类转型载体:一是建设珠宝首饰工艺博览中心,采取图片、实物展览形式打造贵金属工艺展览空间;二是打造珠宝首饰文化IP,建设主题创意园区、融合展厅展示、珠宝首饰创作体验馆等,构建“制作体验-文化研学-产品销售”产业链;三是开发工业遗址艺术综合体,利用挑高车间空间举办珠宝光影艺术展、贵金属装置艺术展等跨界文化活动。
以可塘镇珠宝、梅陇镇金银首饰批发、电商平台为载体,引导培育彩宝批发销售企业、直播电商企业、产品质检机构,积极发展新业态、新模式。引导可塘珠宝产业加强与广州荔湾广场、深圳水贝珠宝交易中心交流合作、产销对接。促进可塘珠宝传统专业镇“上网触电”,引进淘宝、快手、抖音等官方授权直播基地,拓宽产品销路。支持传统产业专业镇注册集体商标、推广地域品牌,支持可塘镇申办省级珠宝交易所,支持梅陇镇打造“中国金银首饰加工销售基地”,提升“中国彩宝之都”“中国珠宝玉石首饰特色产业基地”的品牌影响力。优先支持园区内企业申报中央预算内投资和各级技术改造资金,通过环保、用地等政策引导园区外工业企业有序搬迁入园发展。镇政府推出财政、人力资源等产业支持政策,大力推动可塘镇、梅陇镇建设为金银珠宝特色强镇,优化居住、教学、医疗等配套资源,吸引人才汇聚,推动特色强镇建设。
第六节 加快推进产业数字化转型,构建智能首饰产业生态
深入实施产业集群数字化转型工程,持续推动一批工业企业“上线用云、用数赋智”。深化推进新一代信息技术与制造业融合发展,持续完善工业互联网网络、平台和安全体系,推动产业集群数字化转型。政府部门、科技企业等联合设备制造商、解决方案商、专家及咨询机构组建产业生态联合体,形成产业集群数字化转型的矩阵效应,深入产业集群调研,体系化梳理产业集群产业链图谱、经济模型、生产关系、数字化痛点等,提出产业集群数字化转型实施方案。政府部门提供资金、政策支持珠宝首饰等以中小企业为主的产业集群建设完善网络设施、数据中心、云平台等数字化基础设施,培育壮大集群数字生态。
引导园区、专业镇加强信息基础设施建设,推进5G网络等数字化基础设施全覆盖,围绕企业电子商务、工业软件、数据存储及分析、边缘计算等需求,构建产业园区数字云平台,为企业数字化转型提供良好的外部环境。
推动中小型企业数字化普及应用。推动企业应用低成本、快部署、易运维的工业互联网解决方案,加快工业设备和业务系统“上云上平台”。采取“平台让一点、政府补一点、企业出一点”的方式,进一步降低企业“上云上平台”门槛和成本。政府部门、行业协会等协助搭建高科技企业与珠宝首饰企业的合作平台,促进双方实现高效合作,破解关键核心技术,提升珠宝首饰产业的数字化水平。
推动数字化研发设计。加快应用CAD、CAE、CAPP等计算机辅助设计工具,运用三维建模、模拟仿真等技术优化产品设计和工艺流程,建立创意设计工艺、图案、素材数据库及工艺知识库。珠宝首饰行业搭建协同研发设计平台,推广应用众包设计、协同设计、用户参与设计等新模式。
建立供应链协同管理系统,打通设计、制造、营销、物流、售后等环节,应用大数据、人工智能等技术,推动供应链上下中小企业协同一体化数字化转型。应用大数据技术和知识图谱技术,对供应商、分销商、客户等进行分类分级、能力核准和风险分析,打造多标签、多维度的供应商精准画像,实现供应商管理、评估和检索等功能。
政府部门针对珠宝首饰产业链的数字化升级、自动化设备以及线上APP、小程序的迭代研发等方面给予一定比例的资金支持。鼓励集群中小企业改造运营管理系统、生产设备等关键系统和设备,提升装备数控化率和联网率,鼓励中小企业购置数字化设备及其配套装置、数字化系统、工控软件,探索发展共享制造、众包众创等新模式。
运用数字技术创新销售方式。运用大数据、深度学习等技术对全渠道客户数据进行统一管理,绘制客户画像,开展精准营销。引导珠宝首饰行业企业加强对消费者购物意愿数据采集和分析,针对不同用户打造差异化的营销方案。鼓励珠宝首饰企业加强与电商平台合作,建立用户需求和数据档案,打通线上线下消费场景。打通从门店到线上的数据渠道,加强对用户社会属性、触媒习惯、兴趣爱好、消费动向等数据分析,加强对目标人群的精准投放。通过3D图像、线下场景匹配、产品VR虚拟试戴等方式提升消费者体验,通过消费者需求制定快速修改设计方案,实现产品设计优化及个性化营销。
建立完善珠宝首饰行业智能制造标准体系,制定涵盖人机协作系统、工艺装备、检验检测装备等智能装备标准,以及智能工厂设计、集成优化等智能工厂运营标准。推进企业智能化改造,加快人机智能交互和工业机器人等技术应用,重点支持智能生产装备、智能生产线的研制,智能化工厂建设与推广,绿色制造技术开发与应用,建设数字化车间和智能工厂。鼓励企业打造柔性、智能、精细化生产线。应用生成式AI解析地域文化元素与全球潮流趋势,自动生成高附加值产品设计方案,培育AI设计中心。推行“机器视觉质检+自适应控制”技术全覆盖,攻克微镶定位、曲面抛光等工艺瓶颈,提高产品良品率。部署AI消费洞察系统,普及AR虚拟试戴与数字藏品平台,打造区域性智能珠宝展销中心。
第七节 扎实推进“三品”强基工程
鼓励珠宝首饰产业创新创造,进行产品研发,推动产品外观、产品类型的创新工作,鼓励企业对创新产品申请知识产权保护。对企业进行政策宣贯,倡导企业尊重珠宝首饰的知识产权,减少抄袭现象发生。积极开展个性化定制、柔性化生产,丰富和细化产品种类。
持续提高产品和服务质量。鼓励龙头企业建立健全质量溯源机制,督促生产销售企业落实主体责任。加强对“三无”产品的打击监管力度,对市面上流通的珠宝首饰产品实施质量抽查,发现产品重金属等有毒物质超标或金、银成色不足的,依法对企业进行处罚,责令企业禁止生产、销售“三无”产品。探索出台珠宝首饰加工行业化学试剂使用相关管理办法,加大惩罚力度,对使用违禁辅料的企业依法依规进行罚款,将“屡犯不改”企业列入行业黑名单,取消其生产经营资质。
深入实施商标品牌战略。落实好消费品工业“三品”专项行动。全力打造“梅陇首饰”及“可塘珠宝”区域品牌,力促“梅陇首饰”“可塘珠宝”进入中高端市场。积极实施“品牌提升”战略,重点整合既有品牌,提升发展一批中端品牌,全力打造一批高端品牌。鼓励争创知名品牌、著名商标、驰名商标。
提升产业品牌影响力。2024年底已成立海丰县珠宝首饰行业协会,协会需搭建交流平台,加强行业协作,吸引更多优秀人才和企业来海丰投资兴业,推动技术创新和品牌建设,不断提升珠宝首饰行业的整体竞争力。
第八节 加快推进珠宝首饰行业提质升级
根据产业特点探索制定彩色宝石生产加工技术规范或团体标准。实施《梅陇首饰银S930技术要求》《梅陇首饰精工镶嵌技术规范》和《梅陇首饰机织链技术规范》等行业标准,打响产品品质招牌。加快出台铜饰品相关团体标准。
积极组织企业参与中国香港、中国内地的消博会等大型商品展销会,通过“政府搭台,企业唱戏”等方式,进一步促进企业的品牌传播,提高专业镇和企业的知名度,提升“中国彩宝之都”“中国珠宝玉石首饰特色产业基地”品牌影响力。
强化技术创新。严禁新设立高耗能、高污染项目,遏制 小型黄金珠宝加工等低投入、低附加值、低税收、高污染“三低一高”项目盲目上马。组织行业重点企业前往浙江诸暨等地区学习先进经营模式,引导企业引进精工手工雕刻以及光谱仪、自动点钻机等先进工艺技术设备,实现高端化、数字化、智能化、绿色化转型升级。
纳入强制性清洁生产审核名单企业应依法依规定期开展清洁生产审核工作,鼓励其余企业自行组织开展清洁生产审核工作,引导企业淘汰现有的能耗水耗高、污染物排放量大、污染治理措施落后的工艺设备,逐步对工艺设备进行升级换代,采用清洁生产水平高、污染治理效率高的工艺设备。主动淘汰落后产能,引进物理抛光、生物降解技术等环保型替代工艺。针对区域水环境容量有限的情况,引导企业节能降耗,减污增效,提高污染治理效率,减少污染物排放量。
大力推进与高等院校和科研院所的技术协同创新。依托华南师范大学汕尾校区、汕尾职业技术学院等高校专业技能,建设珠宝金银首饰产业研究设计中心。以“双百行动”结对共建活动为依托,通过与深圳大学,广东省交通职业技术学院等院校结对共建,逐步建设一支研发团队,增强产业竞争力,推动产业华丽蜕变。
第九节 持续改善环境质量,压实企业环保主体责任
加速推进海丰县第三污水处理厂、深汕合作拓展区污水处理厂等综合污水处理厂建设,进一步完善海丰县工业废水处理体系。在珠宝首饰企业集聚的梅陇镇、可塘镇,推动现有市政污水厂扩容或提标改造等工作。推动集中工业污水厂建设工作,谋划在可塘镇的各个珠宝工业区,包括可塘长桥珠宝产业园、海丰县可塘珠宝产业环保集聚区、海丰县雅天妮综合环保工业园、海丰金晟宝石首饰园区、可塘易丰宝石环保工业区、白沙村珠宝产业园,建设集中工业污水处理厂。在工业污水处理工艺中考虑珠宝生产废水的特征污染物,例如氟化物、重金属等,确保珠宝企业的生产废水均处理后达标排放。完善污水管网建设,确保珠宝首饰企业的生活污水和工业废水全部收集,减少对周边水环境的影响。地方主管部门可结合纳污水体水质及管控要求,适时提出企业提高氟化物等特征污染物出水标准或者污水处理设施增加相关特征污染物处理工艺的要求。逐步提高企业及集中工业污水厂的中水回用率,减少外排废水量。
针对安步溪、大液河、东溪、黄江等主要纳污水体,开展流域综合整治工作。深入推进水污染减排。聚焦国考断面达标、万里碧道建设,围绕“查、测、溯、治”,分类推进入河排污口规范化整治。持续推进城镇、农业农村等污染源治理。强化工业园区工业废水和生活污水分质分类处理。有序推进雨污分流工作,以合流渠箱为重点,实施分流改造,实现“污水入厂、清水入河”。推动重点流域实现长治久清。以海丰西闸、东溪水闸等国控断面为重点,做好水质达标攻坚工作。全面开展河道污染源综合整治,污水处理设施提标改造等系列措施,全面实施流域水质达标工程。提升水环境质量,增大水环境容量,为珠宝首饰产业发展提供条件。
严格执行行业准入规定,落实企业环保主体责任。发挥 行业协会商会桥梁纽带作用,倡导行业加强自律自觉抵制违法违规排放行为,营造绿色、集约生产的良好氛围,从源头控制污染,保护环境。后续新改扩建首饰加工项目需满足本产业准入要求,需严格执行国家环境保护法律法规,贯彻落实国家、省、市生态环境主管部门发布的有关标准及行业规范,需严格执行环境影响评价制度和“三同时”制度,落实各项污染防治措施,确保污染物达标排放,减少生产对周边环境的影响。
第十节 深化营商环境改革
强化资金支持。以深圳-汕尾对口协作共建为契机,争取对园区基础设施配套、产业升级改造、环境整治等资金支持。政府部门设立发展专项资金,对品牌创建、技术创新、智能化设备、公共平台建设等促进产业转型升级项目予以扶持和奖励。组织金融机构向金银珠宝首饰企业宣讲大规模设备更新和技术改造一揽子金融服务方案,对企业技术改造、技术攻关等领域重大项目优先给予信贷支持,并在贷款额度、贷款期限及贷款利率等方面予以倾斜。指导申报园区节能和清洁生产、节水、循环经济改造项目,争取省级资金奖补。
开发金融产品支持。充分发挥支持小微企业融资协调工作机制作用,鼓励金融机构积极发展绿色金融,引导商业银行为珠宝产业发展量身定制专属金融产品“产业贷”进一步降低担保费率和融资利率,为首饰产业高质量发展纾难解困。
谋划债券项目储备。研判2025年专项债和超长期国债项目申报的有关规定:精准把握政策要求,谋划珠宝产业专项债券项目储备,充分发挥专项债券“惠民生”作用,择址可塘白沙村片区规划建设由政府投资的产业园区,争取国家资金投放支持产业转型升级,缓解产业高质量发展资金困难,进一步促进珠宝首饰产业可持续发展。
健全危险化学品采购溯源机制。各企业应建立规范化采购渠道管理制度,必须从合规合法渠道购买盐酸、氢氟酸、硝酸、片碱等危险化学品。采购行为必须符合《危险化学品安全管理条例》相关规定,优先选择具备危化品经营资质的正规供应商,严禁通过非法渠道获取危险化学品。完善危化品使用台账管理机制。使用危险化学品的企业须按照《中华人民共和国安全生产法》要求,建立危化品管理台账机制,做好危化品购买、使用台账,完整记录采购、储存、使用、处置等全周期数据。确保实现全过程可追溯管理,便于安全生产等部门进行监管。
第五章 保障措施
第一节 加强行业组织领导
建立责任明确、协调有序、监管有力的产业发展工作体系,按照“统筹协调、分工负责”原则,强化规划实施组织协调和责任落实。贯彻落实省委省政府、市委市政府关于珠宝首饰产业发展的各项工作部署,构建县、镇、园区、企业联动的工作网络,形成合力确保规划任务落实。建立由行业专家以及中介咨询机构组成的专家咨询委员会,隶属于领导小组,发挥专家在招商引资、重大项目规划建设、政策制定、技术指导、公共服务等方面的咨询和桥梁作用。开展一对一联系、点对点招商,特别是要引进污染治理服务专业机构参与珠宝加工过程中污染防治技术攻关,着力推动珠宝产业绿色化、循环化发展。加强对重点数据的监测运用和对重点企业的跟踪,鼓励社会监督,确保产业发展相关政策全面落实。
充分发挥行业协会的桥梁纽带作用,联合会员企业集中采购黄金、宝石等原材料,建立3D打印、激光雕刻等高端设备共享中心,开发行业专属云平台,整合设计图库、趋势分析、线上展会资源等。倡导行业加强自律自觉抵制违法违规排放行为,营造绿色、集约生产的良好氛围,从源头控制污染,保护环境。
第二节 强化行业安全环保
引导企业实现绿色低碳高质量发展,优化生产工艺、优先选用能耗、物耗、水耗低的先进设备,从源头上保障生产的绿色化。强化设备选型选材、提高设计标准和施工质量、强化运行管理、规范治理设施。严格安全、环保、水资源保护行政许可程序,切实执行安全、环保设施“三同时”及排污许可制度,珠宝首饰企业及相关园区的选址及建设布局需符合本次产业准入要求。加强工程建设和生产运行日常监督检查,要求企业按照排污许可证要求,建立自行监测、信息公开、记录台账及定期报告制度,确保长期稳定按证排污。对不符合安全、环保、水资源保护要求的要依法采取停工停产整顿等措施,督促企业及时消除隐患。
建立突发环境事件应急响应机制,及时有效处理突发的各类环境事件,确保人民群众生命、财产安全和自然生态不受破坏。强酸、强碱等危化品销售企业需取得《危险化学品经营许可证》,建立防泄漏储存设施,并定期向应急管理部门报备。生产企业应建立危险废物管理台账,如实记录种类、数量、流向等信息,保存期不少于3年;委托有资质单位处置危险废物,禁止擅自倾倒。建立健全企业—园区(行业协会)—政府应急联动体系,防范安全环境风险,及时查处安全环境违法事件,严格事故调查和处理,依法追究相关人员责任。
推行“安全环保管家”驻场服务,联合行业协会适时开展“1对1”帮扶,重点培训废水处理设备操作、个人防护装备选用等生存性技能。探索开发珠宝行业安全环保标准微课库,涵盖危化品管理、粉尘控制、废水处理等核心模块,采用VR模拟事故场景强化实操培训。
第三节 加强政策扶持与资金保障
优化投资环境,建立高效的投资绿色通道。充分发挥支持小微企业融资协调工作机制作用,鼓励金融机构积极发展绿色金融,引导商业银行为珠宝产业发展量身定制专属金融产品“产业贷”,进一步降低担保费率和融资利率,为珠宝产业高质量发展纾难解困。加强政务环境建设,推进政府职能转变,改进服务方式,强化企业服务能力,推进数字化管理升级,加强对企审批服务渠道的数字化建设,创新服务机制,提高服务效率,增强承接产业转移的竞争力和吸引力。
加大技改奖励政策宣传力度,统筹用好省级技改、市级技改等奖补政策,鼓励珠宝加工企业开展设备更新、工艺提升,加快推动珠宝产业数字化、智能化、绿色化发展。探索出台县级技改奖补政策,调动设备更新和改进工艺的积极性激励企业开展升级改造,对采用先进生产工艺的企业适当给予倾斜。
研判2025年专项债和超长期国债项目申报的有关规定,谋划珠宝产业专项债券项目储备,充分发挥专项债券“惠民生”作用,择址可塘白沙村片区规划建设由政府投资的产业园区,争取国家资金投放支持产业转型升级,缓解产业高质量发展资金困难,进一步促进珠宝产业可持续发展。协调园区从厂房售价、租赁价格、水电费等方面给予优惠,充分调动企业入园的积极性。
增加发明专利补贴、技术研发项目补贴、知识产权贯标补贴的强度,创新知识产权示范企业资助、产业知识产权联盟资助等新资助手段。建立专利侵权惩罚性赔偿制度,破解知识产权维权周期长、取证难、赔偿低、效果差等问题。深化“放管服”改革,加快建设市场化、法治化、国际化的一流营商环境,维护公平竞争的市场秩序。加大对商标、包装装潢、外观设计、发明专利、商业秘密等知识产权的保护力度,严厉打击“三无”产品及侵犯知识产权、制假售假行为。强化企业信用管理,引导企业建立质量安全信用管理机制。
第四节 推动技术创新与人才培育
以“双百行动”结对共建活动为依托,通过与深圳大学、广东省交通职业技术学院等院校结对共建“珠宝工艺研发中心”,攻关环保电镀、智能设计等课题。引进和培养设计专业人才,开设“珠宝设计订单班”,企业与高校共同制定人才培养方案和教学计划。建立常态化技能培训机制,针对首饰设计、智能制造、电商运营等环节开展专项技术培训,提升从业者专业素养与创新能力,推动传统技艺与现代技术融合升级。
第五节 健全评估监督机制
领导小组及行业协会应积极跟进省、汕尾市对特色产业发展的政策变化和计划安排,对规划及时作出调整和优化。明确目标责任,制定工作清单,并加强对规划实施的各部门的跟踪分析,督促检查、综合协调和经验总结推广,全面了解规划实施情况和效果,适时组织开展评估,协调解决实施中存在的问题,及时总结,助力进一步完善相关政策措施重大问题及时向相关部门报告。完善规划实施的公众参与机制,广泛听取社会各界的意见和建议,营造全社会共同推动珠宝首饰行业发展的良好氛围。
建立“公安+应急管理+市场监管+生态环境”联合执法小组,对珠宝首饰加工企业开展全过程、多方位、常态化的监管执法,对未按要求运行环保设施,废水废气排放超标的企业(作坊)作出停业整改,拒不整改的予以关停,情节严重的刑事追责。定期组织环保应急等领域专家对首饰生产全流程开展“环保体检”,建立环境动态监管机制。定期开展“净源行动”,对使用非法原料的企业纳入“行业失信黑名单”,实施融资限制、土地审批、政府采购等方面实施联合限制,直至整改验收合格。建立完善重点项目动态管理台账机制,压实各责任部门主体责任,强化全程跟踪服务保障,保障重点项目实施。
附表1 海丰县珠宝首饰行业重点项目清单
附图1 海丰县行政区划图
附图2 海丰县现有主要珠宝首饰加工企业分布示意图
附图3 海丰县珠宝首饰产业整体布局示意图
附图4 海丰县首饰行业重点项目分布图
附图5 海丰县主要地表水环境功能区划图
附图6 典型珠宝首饰生产工序现场踏勘照片
附件一 专家评审意见


您访问的链接即将离开“海丰县人民政府”门户网站,是否继续?









































粤公网安备 44152102000044号